Product Summary
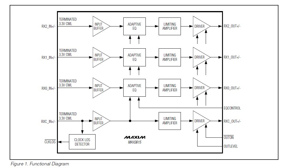
The MAX3815CCM+TD is a TMDS Digital Video Equalizer for DVI/HDMI Cables. It extends the usable cable distance up to 36 meters. It features four CML-differential inputs and outputs (three data and one clock). The MAX3815CCM+TD provides a lossof-signal (LOS) output that indicates loss-of-clock signal. The outputs include a disable function or the equalizer can be powered down to conserve power. For direct chip-to-chip communication, the output drivers can be switched to one-half the DVI output specification to conserve power and reduce EMI. The applications of the MAX3815CCM+TD include: Front-Projector DVI/HDMI Inputs, High-Definition Televisions and Displays, DVI-D/HDMI Cable-Extender Modules and Active Cable Assemblies, LCD Computer Monitors.
Parametrics
MAX3815CCM+TD absolute maximum ratings: (1)Supply Voltage VCC:-0.5V to +4.0V; (2)Voltage at All I/O Pins:-0.5V to (VCC + 0.7V); (3)Voltage between any CML I/O Complementary Pair: ±3.3V; (4)Operating Junction Temperature Range: -55℃ to +150℃; (5)Storage Temperature Range: -55℃ to +150℃; (6)Die Attach Temperatur: +400℃.
Features
MAX3815CCM+TD features: (1)Extends TMDS Cable Reach to Projectors or Monitors Using DVI, DFP, PanelLink, ADC, or HDMI Interfaces; (2)Compatible with Computer Resolutions VGA, SVGA, XGA, SXGA, UXGA; (3)Fully Automatic Equalization Up to 40dB at 825MHz (1.65Gbps), No System Control Required; (4)3.3V Power Supply; (5)Power Dissipation of 0.6W (typ); (6)7mm x 7mm 48-Pin TQFP Lead-Free Package.
Diagrams

| Image | Part No | Mfg | Description | ![]()  | 
                            Pricing (USD)  | 
                            Quantity | ||||||||
|---|---|---|---|---|---|---|---|---|---|---|---|---|---|---|
![]()  | 
                            ![]() MAX3815CCM+TD  | 
                            ![]() Maxim Integrated Products  | 
                            ![]() Equalizers TMDS Digi Video EQ for HDMI/DVI Cables  | 
                            ![]() Data Sheet  | 
                            ![]() 
  | 
                            
                            	 | 
                      ||||||||
![]()  | 
                            ![]() MAX3815CCM+TDG05  | 
                            ![]() Maxim Integrated Products  | 
                            ![]() Equalizers TMDS Digi Video EQ for HDMI/DVI Cables  | 
                            ![]() Data Sheet  | 
                            ![]() 
  | 
                            
                            	 | 
                      ||||||||
 (China (Mainland)) 
                         
                        
                                    







