Product Summary
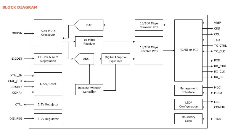
The 88E3018-A2-NNC1C000 supports the Reduced Gigabit Media Independent Interface (RGMII), with the 883018 also supporting the Media Independent Interface (MII). The 88E3018-A2-NNC1C000 features a mode of operation supporting IEEE-compliant 100BASE-FX fiber-optic networks. Additionally, the 88E3018-A2-NNC1C000 implement far end fault indication(FEFI) in order to provide a mechanism for transferring information from the local station to the link partner that indicates that a remote fault has occurred in 100BASE-FX mode.
Parametrics
88E3018-A2-NNC1C000 characteristics: (1)Reduces pin count and offers Gigabit Ethernet upgrade; (2)Eases installation and reduces costs by working with both straight and cross-over cables; (3)64-Pin QFN.
Features
88E3018-A2-NNC1C000 features: (1)Automatic MDI/MDIX crossover at all speeds of operation; (2)PECL interface supporting 100BASE-FX applications; (3)IEEE 802.3u compliant auto-negotiation; (4)MDC/MDIO management interface; (5)Virtual Cable Tester (VCT); (6)Coma mode support and energy detect feature; (7)Supports 802.3ah unidirectional enable; (8)Supports three LEDs per port; (9)88E3016/88E3018: Pin-upgradeable to Marvell Gigabit Ethernet PHY; (10)88E3016/88E3018: Supports IEEE 1149.1 JTAG.
Diagrams

(China (Mainland))






